医疗小型污水处理设备排放标准
一、医疗小型污水处理设备排放标准:
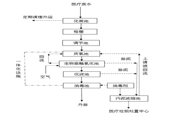
医疗小型污水处理设备严格执行国家现行的环保技术标准、规范,遵守国家和地方环保的有关法律、法规,废水经治理后,确保各项水质指标均达到《医疗机构水污染物排放标准》(GB 18466-2005)标准的要求。主要采用的工艺有三种:加强处理效果的一级处理、二级处理和简易生化处理。即地埋一体化污水处理设备加消毒装置(二氧化氯发生器),处理后的水可以达标排放,并且设备投入较少。

二、医疗小型污水处理设备优点:
1、占地面积小、安装方便;
2、自动运行、操作简单、整个系统无需专人管理;
3、系统处理效果稳定可靠;
4、外表美观、结构紧凑、便于移动;
5、无需投加药剂,节省后续运行成本。


三、医疗小型污水处理设备控制系统:
1.设全自动控制及手动控制功能。
2.水泵与风机能在设置时间内自动交替使用。
3.进水泵低水位停止,高水位启动,超警戒水位提供报警信号。
4.设备停止工作2小时以上,为保持生物膜的活性,风机能定时间歇运行。
5.设有过流、过载、断相、短路保护,故障自动切换并声光报警。
6.污水处理站24小时运行,控制系统自动化水平较高,只需配备1名兼职人员

四、医疗小型污水处理设备处理工艺:
(1)预处理:废水的预处理是整个系统能否有效运行的关键。废水中含有大量易腐化的有机物,必须在进入处理系统前加以拦截,以防止悬浮固体有机质腐化成为溶解性有机质,导致废水CODCr、BOD5浓度升高。常用的预处理方法很多,主要包括:调节、隔油、等。考虑到本工程的水量及水质特点,预处理工艺采用格栅、综合调节相结合的工艺。
(2)生化处理:
接触氧化法是一种好氧生物膜法工艺,微生物以生物膜形式及悬浮态生长于水中,因此它兼具活性污泥及生物滤池二者的特点。池内设置立体弹性填料和曝气管路系统,并于曝气管路系统上安装微孔曝气器。弹性填料由拉毛的PP材质的丝条和绞绳制成,呈圆形毛刷状,比表面积大,能附着大量的微生物膜。该填料挂膜快,脱膜容易,运行时丝条对空气泡能起到极好的切割作用,使大气泡切割成小气泡,可增加气液接触面积,促进氧的传递,从而提高处理效果。该工艺负荷高、停留时间短、挂膜快、运行稳定,比较适合小规模企业中小型污水处理站的建设,倍受环保公司及用户青睐。
(3)消毒:医院污水中含有大肠杆菌超标,因此在污水排放前必须加以消毒,最有效的杀菌工艺是二氧化氯消毒,二氧化氯发生器以盐酸和氯酸钠为原料,采用负压曝气工艺,生产以二氧化氯为主,氯气为铺的复合消毒液,工业盐酸应符合国家标准《GB320--93工业合成盐酸》的要求。氯酸钠应符合《GB1618--1995工业用氯酸钠》的要求。



返回首页
电话
产品中心