疾控中心污水处理设备质量保障
一、疾控中心污水处理设备质量保障:
疾控中心污水处理设备是一种模块化的污水生物处理设备,是一种以生物膜为净化主体的污水生物处理系统,充分发挥了厌氧生物滤池、接触氧化床等生物膜反应器具有的生物密度大、耐污能力强、动力消耗低、操作运行稳定、维护方便的特点。

二、疾控中心污水处理设备优点:
1.设备埋于地表下,上面可以进行绿化,环境美观。
2.整个设备一般不需要专人管理。
3.可以减少占地面积,设备上方可修建停车场等,无需建厂房等设施。
4.对周围环境无影响、污泥产生量少、噪音小于二类地区的标准。
5.操作简便、工艺新、效果好、使用寿命长。
6.设备可按标准布置,也可随地形需要特殊布置。

三、疾控中心污水处理设备处理工艺:
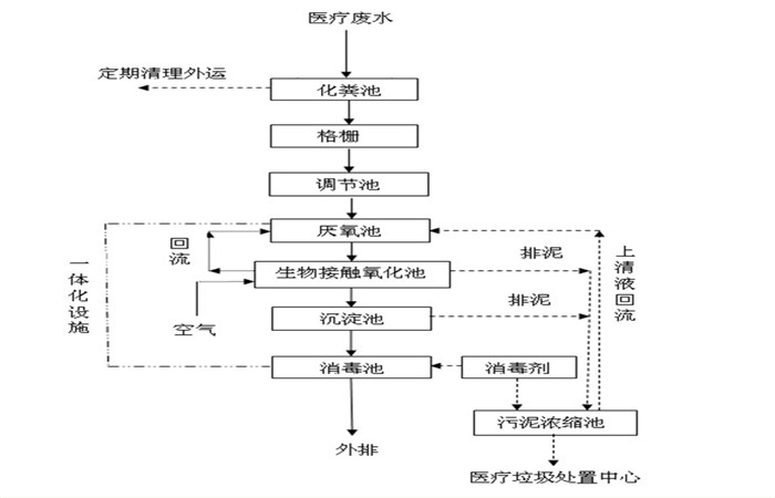
(1)预处理:废水的预处理是整个系统能否有效运行的关键。废水中含有大量易腐化的有机物,必须在进入处理系统前加以拦截,以防止悬浮固体有机质腐化成为溶解性有机质,导致废水CODCr、BOD5浓度升高。常用的预处理方法很多,主要包括:调节、隔油等。
(2)接触氧化法:它是一种好氧生物膜法工艺,微生物以生物膜形式及悬浮态生长于水中,因此它兼具活性污泥及生物滤池二者的特点。池内设置立体弹性填料和曝气管路系统,并于曝气管路系统上安装微孔曝气器。弹性填料由拉毛的PP材质的丝条和绞绳制成,呈圆形毛刷状,比表面积大,能附着大量的微生物膜。该填料挂膜快,脱膜容易,运行时丝条对空气泡能起到极好的切割作用,使大气泡切割成小气泡,可增加气液接触面积,促进氧的传递,从而提高处理效果。该工艺负荷高、停留时间短、挂膜快、运行稳定。
(3)消毒:医院污水中含有大肠杆菌超标,因此在污水排放前必须加以消毒,有效的杀菌工艺是二氧化氯消毒,二氧化氯发生器以盐酸和氯酸钠为原料,采用负压曝气工艺,生产以二氧化氯为主,氯气为铺的复合消毒液,工业盐酸应符合国家标准《GB320--93工业合成盐酸》的要求。


四、疾控中心污水处理设备运行注意:
(1)泵站与污水处理站采用双路供电,水泵设计考虑备用,机械设备采用性能可靠优质产品。
(2)选用优质设备,对污水处理站各种机械电器、仪表等设备,必须选择优良、事故率低、便于的产品。关键设备应一备一用,易损部件要有备用件,在出现事故时能及时更换。
(3)加强事故监控,定期巡检、调节 及时发现有可能引起事故的异常运行,事故隐患。
(4)严格控制处理单元的水量、水质、停留时间、负荷强度等工艺参数,确保处理效果。配备流量、水质自动分析监控仪器,定明取样监测。操作人员及时,使设备处于工况。如发现不正常现象,需立即采取预防措施。

五、疾控中心污水处理设备服务保障:
01、多年行业经验,每台设备质量都经过严格把控采用优质原材料,焊接牢固、工艺精湛。
02、提供全套解决方案,专业团队为您量身定制根据客户实际需求,将处理成本降低。
03、从设计到生产到安装调试全程跟踪,一站式团队服务、快速响应,“质量为本,服务为先”。



返回首页
电话
产品中心