小型医疗污水处理器品质可靠
一、小型医疗污水处理器品质可靠:
小型医疗污水处理器采用物理方法处理污水,不会出现氯排放量超标的现象,也不会出现后续投资费用。工艺中的主体为地埋设备和二氧化氯消毒,二氧化氯其杀菌的原理是破坏和氧化微生物的细胞膜、细胞质、酶系统和核酸等,从而能够有效的去除细菌和病毒。购买设备时需要了解生产厂家,是否是源头生产厂家、设备价格是否包含安装、调试、操作技术培训费用等,花合适的钱买合适的设备,享受一切售后服务。

二、小型医疗污水处理器特点:
1、设备经本厂碳钢防腐处置或不锈钢构件,重量轻巧,易于运输,便当装置,耐腐蚀,运用寿命长;
2、构造合理紧凑,埋于公开有利保温,在冰冷的冬季仍可正常运转,顺应南北宽广的气候;亦可安顿在水塘中,借用地形触入四周,占空中积。
3、无污染,无噪声,无异味,二次污染;
4、不受污水量的,机动灵敏,可单个运用,也可多个结用。
5、自动化水平高,能耗低,费用小。

三、小型医疗污水处理器处理工艺:
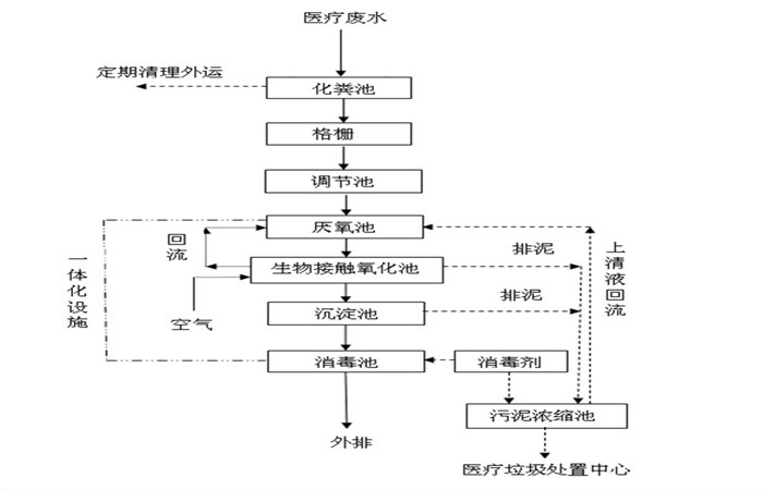
(1)预处理:废水的预处理是整个系统能否有效运行的关键。废水中含有大量易腐化的有机物,必须在进入处理系统前加以拦截,以防止悬浮固体有机质腐化成为溶解性有机质,导致废水CODCr、BOD5浓度升高。常用的预处理方法很多,主要包括:调节、隔油等。
(2)接触氧化法:它是一种好氧生物膜法工艺,微生物以生物膜形式及悬浮态生长于水中,因此它兼具活性污泥及生物滤池二者的特点。池内设置立体弹性填料和曝气管路系统,并于曝气管路系统上安装微孔曝气器。弹性填料由拉毛的PP材质的丝条和绞绳制成,呈圆形毛刷状,比表面积大,能附着大量的微生物膜。该填料挂膜快,脱膜容易,运行时丝条对空气泡能起到极好的切割作用,使大气泡切割成小气泡,可增加气液接触面积,促进氧的传递,从而提高处理效果。该工艺负荷高、停留时间短、挂膜快、运行稳定。
(3)消毒:医院污水中含有大肠杆菌超标,因此在污水排放前必须加以消毒,有效的杀菌工艺是二氧化氯消毒,二氧化氯发生器以盐酸和氯酸钠为原料,采用负压曝气工艺,生产以二氧化氯为主,氯气为铺的复合消毒液,工业盐酸应符合国家标准《GB320--93工业合成盐酸》的要求。


四、小型医疗污水处理器出厂检查:
1、设备在出厂前必须检查无任任何缺陷,并检查各部件是否符合规范要求等。
2、每台设备进行试压、试漏无任何异常现象。
3、检查各设备附件及包装情况,清点发货清单,确认无误后一一记录备案。

五、小型医疗污水处理器售后服务:
1)服务宗旨:快速、果断、准确、周到、彻底
2)服务目标:服务质量赢得用户满意
3)服务效率:保修期内或保修期外如设备出现故障,供方在接到通知后,维修人员在24小时内可达到现场并开始维修。
4)服务原则:产品保修期为两年,在保修期内供方将免费维修和更换属质量原因造成的零部件损坏,保修期外零部件的损坏,提供的配件只收成本费,由需方人为因素造成的设备损坏,供方维修或提供的配件均按成本价计。


返回首页
电话
产品中心