疾控中心污水处理实施办法
一、疾控中心污水处理实施办法:
疾控中心污水处理实施预处理+生化处理+消毒的组合形式处理工艺,其中消毒的作用是消灭污水中各种致病菌,以保证疾控中心污水处理后能够达标排放。疾控中心污水选用合理、可靠的处理工艺,在确保处理排放达标的前提下,做到操作简单、管理方便、占地少、投资省、运行费用低, 有较好的技术经济指标。

二、疾控中心污水处理工艺流程:
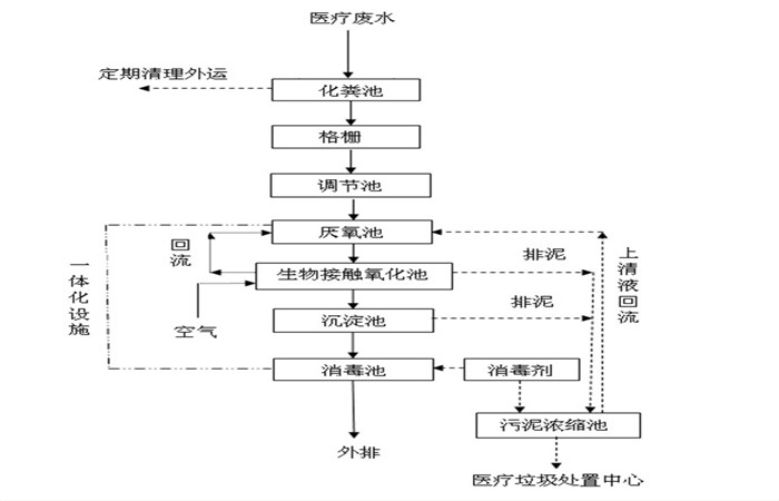
1、疾控中心污水首先进入格栅井,格栅的作用主要是拦截污水中的漂浮物及颗粒物,减轻后续设备的处理负荷和保护水泵正常工作。
2、从格栅出来的水有提升泵提升到调节池,调节池的作用是调节水质和水量,使不同时间、不同水质的水充分混合,保证进入到后续设备的水质与水量均匀一致,还可以降低一定的负荷,使整套处理设备耐受短时间较高的负荷冲击。为防止SS在调节池沉淀,在调节池中安装几根曝气软管,起搅拌作用,同时调节池具有水解、酸化池的功能,可将部分大分子有机污染物降解为小分子污染物,去除部分有机污染物。
3、调节池出来的水自流至一体化医院污水处理设备的水解酸化池,将不易分解的大分子有机物厌氧消化为易分解的小分子有机物,后废水进入接触氧化池,在曝气池中设置填料,将其作为生物膜的载体。待处理的废水经充氧后以一定流速流经填料,与生物膜接触,生物膜与悬浮的活性污泥共同作用,达到净化废水的作用。生物处理后的废水自流入沉淀池,沉淀后上清液自流入消毒池,经过二氧化氯消毒后达标排放。


三、疾控中心污水处理特点:
1、充分考虑二次污染的防治,设备要求噪声低,处理站附近区域无明显异味,处理设施要有密封措施,尽量减少对周围环境的影响;
2、系统操作简单,维护管理方便;
3、处理系统能自动运行,经常性运行费用低,投资省;
4、污泥产生量少,并能保证污泥有可靠的出路;
5、处理设施应具有较大的适应性、应急性、可满足水质、水量的变化,并考虑突发事故状态的各种应急措施。

四、疾控中心污水处理调试:
调试工作由设备公司负责,为了加快调试工作,可投入菌种,为了避免菌种流失,可减少进水量并启动风机进行曝气,直至填料上长出一层橙黄色生物膜,即完成填料挂膜,然后将进水量增加至额定流量。完成填料挂膜后,再对A级生物池内微生物进行驯化,即逐渐减少曝气量,使A级生物池处于缺氧状态,使填料上微生物变为兼性微生物,然后对微生物进行适应性运转,直至达到设计要求。

五、疾控中心污水处售后服务:
1、严格按业主的要求,保证进度,保证质量完成项目。
2、凡是我方提供的所有材料以及整体工程,均实行12个月免费保修,该保修期自整体项目竣工验收合格之日起计算。
3、凡属我方承包范围和内容的项目,我方在接到修理通知的4小时内给予答复,48小时内派人修理。
4、在保修期内向业主提供的所有售后服务属无偿服务。
5、我方承诺,对设备质量终身维护。
6、我方承诺将终身维护,并以优惠的价格(成本价)对设备提供修理服务。


返回首页
电话
产品中心