医用污水处理设备
医用污水处理设备项目建设必需性和经济性:
随着国家对环保的日益重视和人民环保意识的提高,废水污染解决与否直接关系人们的生存和发展。因此,无论从发展还是从改善水资源、保护水环境,做好该厂这类废水的治理工程建设是十分必要的。废水治理工程的建设是为了减轻附近水环境的污染,保护人民身体健康,改善环境卫生条件,有明显的社会效益和环境效益,为可持续发展奠定坚实的基础。

医用污水处理设备设计原则:
1、本设计严格执行国家现行的环保技术标准、规范,遵守国家和地方环保的有关法律、法规,废水经治理后,确保各项水质指标均达到《医疗机构水污染物排放标准》(GB 18466-2005)一级标准的要求;
2、选用先进、合理、可靠的处理工艺,在确保处理排放达标的前提下,做到操作简单、管理方便、占地少、投资省、运行费用低, 有较好的技术经济指标。
3、本工程系环境工程,尤其要注意环境保护,避免和减少二次污染,要求改善劳动卫生条件,贯彻安全生产和清洁文明生产的方针。
4、为了提高污水处理站管理水平,设计采用的自动化程度较高,操作人员的劳动强度低。
5、合理选用优质配件,降低能耗,提高工作效率和试用寿命,降低成本。
6、在工艺设计时,有较大的灵活性,可调性,以试用水量、水质的周期变化,提高系统的灵活性和可变性。
7、采用污泥前置回流消解工艺,以降低污泥产生量。
8、因地制宜,合理布局,有效的利用空间。

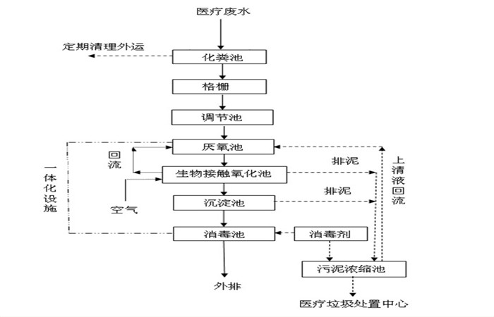
医用污水处理设备工艺确定
本方案采用生物接触氧化处理工艺,生物处理装置要求技术可行,运行费用低廉,经济合理,设备可靠先进,工艺技术具有一定的耐冲击负荷和操作灵活性。整体布局应简洁,合理、美观、实用、减少动力消耗等。

医用污水处理设备 2020-5-29 本文被阅读 1364 次

返回首页
电话
产品中心